LUX系列智能旋進旋渦氣體流量計
- 電 話:021-69028098
- 傳 真:021-69028066
- 郵 箱:shkhyb@163.com
Description
概述
LUX系列智能旋進旋渦氣體流量計采用最新微處理技術,具有功能強、流量范圍寬、操作維修簡單,安裝使用方便等優點,主要技術指標達到國外同類產品先進水平。廣泛應用于石油、化工、電力、冶金、煤炭等行業各種氣體、液體計量。
主要特點
1、內置式壓力、溫度、流量傳感器,安全性能高,結構緊湊,外形美觀。
2、就地顯示溫度、壓力、瞬時流量和累積總量。
3、采用新型信號處理放大器和獨特的濾波技術,有效地剔除了壓力波動和管道振動所產生的干擾信號,大大提高了流量計的抗干擾能力,使小流量具有出色的穩定性。
4、特有時間顯示及實時數據存儲之功能,無論什么情況,都能保證內部數據不會丟失,可永久性保存。
5、整機功耗極低,能憑內部電池長期供電運行,是理想的無需外電源就地顯示儀表。
6、防盜功能可靠,具有密碼保護,防止參數改動。
7、表頭可180度隨意旋轉,安裝方便。
本系列產品執行國家JJG198-94《速度式流量計檢定規程》和Q/320831AHH003-2004《HLUX系列智能旋進旋渦氣體流量計》企業標準。
本系列產品經國家級儀器儀表防爆安全監督站(NEPSI)檢定認可,符合國家標準GB3836.1-2000、GB3836.2-2000有關規定。隔爆型防爆標志為Exd Ⅱ BT4。
主要技術參數
1、流量計規格、基本參數和性能指標
| 規格型號 | 公稱通徑 DN(mm) | 流量范圍 (m3/h) | 儀表系數 (m3)-1 | 壓力等級 (MPa) | 準確度 | 備 注 |
| LUX-25 | 25 | 2.5~30 | 240000 | 1.6 2.5 4.0 | 1.5級 | PN≤1.6MPa為鋁合金外殼 PN≤4.0MPa為不銹鋼外殼 PN>4.0MPa為特殊規格,訂貨時請說明 |
| LUX-32 | 32 | 4.5~60 | 90000 | |||
| LUX-50 | 50 | 10~150 | 24000 | |||
| LUX-80 | 80 | 28~400 | 4800 | |||
| LUX-100 | 100 | 50~800 | 2800 | |||
| LUX-150 | 150 | 150~2250 | 680 | |||
| LUX-200 | 200 | 360~3600 | 210 |
注:1、表中所列的流量范圍為產品出廠時檢定的流量范圍(常溫、常壓下介質為空氣,ρ=1.205kg/m3);
2、隨著壓力的增大,流量范圍也隨之擴大。
2、標準狀態條件:P=101.325kPa,T=293.15K
3、使用條件:
環境溫度:-30~+60℃
介質溫度:-20~+80℃
相對濕度:5%~95%
大氣壓力:86kPa~106kPa
4、電氣性能指標:
工作電源:外電源:+24VDC
內電源:3.6V鋰電池,型號:ER26500
整機功耗:外電源,<1W
內電源,<0.3mW,鋰電池可用二年以上。
輸出方式:脈沖信號
4~20mA電流信號:對應流量0~Qmax,20mA對應流量可由用戶自己設定。
RS485通訊:可傳輸溫度、壓力、瞬時流量和累積流量參數。
5、防爆標志:Exd Ⅱ BT4
6、防護等級:IP65
工作原理
當流體通過螺旋形導流葉片組成的旋渦發生體后,流體被強迫繞旋渦發生體中心劇烈地旋轉,形成旋渦流。旋渦流加速,沿流動方向經縮徑段,流動強度增強。當旋渦流進入擴散段后,在導流體回流的作用下,該旋渦產生二次旋轉運動,即旋渦進動。二次旋渦進動的頻率與流量成正比。當流量計設計得當時,在很寬的流量范圍內,旋渦的頻率與流量成線性關系。該頻率由壓電傳感器檢測,由流量積算儀進行運算和處理。

產品選型
代號 | 口徑 | 流量范圍m3/h | ||
LUX-25 | DN25 | 2.5~30 | ||
LUX-32 | DN32 | 4.5~60 | ||
LUX-50 | DN50 | 10~150 | ||
LUX-80 | DN80 | 28~400 | ||
LUX-100 | DN100 | 50~800 | ||
LUX-150 | DN150 | 150~2250 | ||
LUX-200 | DN200 | 360~3600 | ||
代號 | 功能1 | |||
N | 無溫壓補償 | |||
Y | 帶溫壓補償 | |||
代號 | 輸出型號 | |||
F1 | 4-20mA輸出(二線制) | |||
F2 | 4-20mA輸出(三線制) | |||
F3 | RS485通訊接口 | |||
| 代號 | 功能2 | |||
E1 | 1.0級 | |||
E2 | 1.5級 | |||
T | 常溫 | |||
P1 | 1.6Mpa | |||
P2 | 2.5Mpa | |||
P3 | 4.0Mpa | |||
D1 | 內部3.6V供電 | |||
D2 | DC24V供電 | |||
B1 | 不銹鋼 | |||
B2 | 鋁合金 | |||
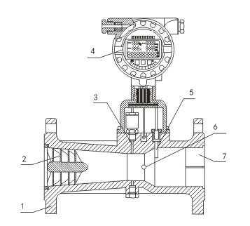
產品結構

1、殼體 2、旋渦發生體 3、壓力傳感器 4、流量積算儀 5、溫度傳感器 6、壓電傳感器 7、出口導流體





