1151DP/GP帶遠傳裝置的差壓/壓力變送器
- 電 話:021-69028098
- 傳 真:021-69028066
- 郵 箱:shkhyb@163.com
Description
1151DP/GP帶上遠傳密封裝置的差壓/壓力變送器型號及規格代號表
| 1151 | 智能電容式遠傳變送器 | |||||||||||||||||
| 代碼 | 變送器名稱 | |||||||||||||||||
| DP | 差壓變送器 | |||||||||||||||||
| GP | 壓力變送器 | |||||||||||||||||
| 代碼 | 量 程 范 圍 | 最大工作壓力(靜壓) | 精 度 | |||||||||||||||
| 3 | 0-1.3~7.5 kPa | 2.5-4-5-10 MPa (訂貨時請注明) | 0.2% | |||||||||||||||
| 4 | 0-6~40 kPa | 同上 | 0.2% | |||||||||||||||
| 5 | 0-31.1~186.8 kPa | 同上 | 0.2% | |||||||||||||||
| 6 | 0-117~690 kPa | 同上 | 0.2% | |||||||||||||||
| 7 | 0-345~2068 kPa | 同上 | 0.2% | |||||||||||||||
| 8 | 0-1.17~6.89 MPa | 同上 | 0.2% | |||||||||||||||
| 9 | 0-3.45~20.68 MPa | 32MPa 訂貨時請注明 | 0.2% | |||||||||||||||
| 代碼 | 輸 出 信 號 | |||||||||||||||||
| E | 4-20 mA DC | |||||||||||||||||
| H | HART通訊 | |||||||||||||||||
| F | FF通訊 | |||||||||||||||||
| 代碼 | 法蘭材料 | 隔離膜片 | ||||||||||||||||
| 12 | 碳鋼鍍鎳 | 316L 不銹鋼 | ||||||||||||||||
| 22 | 316不銹鋼 | 316L 不銹鋼 | ||||||||||||||||
| S1 | 一個遠傳裝置 | |||||||||||||||||
| S2 | 二個遠傳裝置 | |||||||||||||||||
| 代碼 | 毛細管長度( m ) | |||||||||||||||||
| A | 1.5 | |||||||||||||||||
| B | 3 | |||||||||||||||||
| C | 4.5 | |||||||||||||||||
| D | 6 | |||||||||||||||||
| E | 7.5 | |||||||||||||||||
| 代碼 | 選用件(不選則不填) | |||||||||||||||||
| M1 | 0~100% 線性指示表 | |||||||||||||||||
| M3 | 3 1/2 LCD 數字線性顯示表 | |||||||||||||||||
| B1 | 管裝彎支架 | |||||||||||||||||
| B2 | 板裝彎支架 | |||||||||||||||||
| B3 | 管裝平支架 | |||||||||||||||||
| d | 隔爆型 dIIBT4 | |||||||||||||||||
| i | 本安型 iaIICT6 | |||||||||||||||||
| / | 遠傳裝置型號PFW、RTW、EFW、RFW* | |||||||||||||||||
1151 | DP | 3 | E | 12 | S1 | A | ||||||||||||
遠傳裝置訂貨規格選擇
①PFW扁平式遠傳裝置訂貨規格表
| 1199 PFW | 扁平式遠傳法蘭 | |||
| 代碼 | 型式 | |||
| 11 | 標準3″-150LB法蘭 | |||
| 代碼 | 遠傳法蘭膜片材料 | |||
| A | 316L | |||
| B | 哈氏合金C-276 | |||
| C | 鉭 | |||
| 代碼 | 殼體材料 | |||
| 11 | 316SST | |||
| 1199 PFW —11 A-11 請將該型號附加到遠傳變送器型號后面 | ||||
②RTW螺紋安裝式遠傳裝置訂貨規格
| 1199 RTW | 螺紋安裝式遠傳法蘭 (最大工作壓力為10 MPa) | |||||
| 代碼 | 沖洗備用孔 | |||||
| 11 | 無 | |||||
| 21 | 有 | |||||
| 代碼 | 遠傳法蘭膜片材料 | |||||
| A | 316L | |||||
| B | 哈氏合金C | |||||
| C | 鉭 | |||||
| 代碼 | 結構件材料 | |||||
| 11 | 上套316SST,安裝環為碳鋼,墊圈為石棉或氟橡膠、丁腈橡膠 | |||||
| 31 | 上套、安裝環為316SST,墊圈為石棉或氟橡膠、定腈橡膠 | |||||
| 代碼 | 下套材料 | |||||
| A | 316SST | |||||
| B | 哈氏合金 C-276 | |||||
| 代碼 | 引壓連接孔 | |||||
| 13 | 1/2-14NPT 錐管螺紋 | |||||
| 1199 RTW — 21A 31 13 請將該型號附加到遠傳變送器型號后面 | ||||||
③EFW插入筒式遠傳裝置訂貨規格表
| 1199 EFW | 插入筒式筒式遠傳裝置 | |||||
| 代碼 | 插入筒直徑和按液部分材料 | |||||
| 11 | (3″)66mm316SST | |||||
| 12 | (3″)66mm哈氏合金(特殊訂貨) | |||||
| 13 | (4″)89mm316SST | |||||
| 14 | (4″)89mm哈氏合金(特殊訂貨) | |||||
| 代碼 | 遠傳裝置膜片材料 | |||||
| A | 316LSST 只用于11、13代號 | |||||
| B | 哈氏合金C-276 只用于12、14代號 | |||||
| C | 鉭 | |||||
| 代碼 | 插入筒長度 | |||||
| L1 | (2″)50mm | |||||
| L2 | (4″)100 mm | |||||
| L3 | (6″)150 mm | |||||
| 代號 | 法蘭材料和額定壓力 | |||||
| A11 | 碳鋼鍍鋅,最大工作壓力2.5MPa | |||||
| A12 | 碳鋼鍍鋅,最大工作壓力5MPa(不推薦) | |||||
| 1199 EFW — A3 4 J1 31 請將該型號附加到遠傳變送器型號后面 | ||||||
④RFW法蘭安裝式遠傳裝置訂貨規格表
| 1199 RFW | 法蘭安裝式遠傳法蘭 | ||||||
| 代碼 | 沖洗備用孔 | ||||||
| 11 | 無 | ||||||
| 21 | 有 | ||||||
| 代碼 | 遠傳法蘭接液膜片材料 | ||||||
| A | 316L | ||||||
| B | 哈氏合金C-276 | ||||||
| C | 蒙乃爾 | ||||||
| 代碼 | 上套結構材料 | ||||||
| 11 | 上套為316L,上套法蘭為碳鋼鍍鋅,墊圈為石棉或氟橡膠 | ||||||
| 31 | 上套為316L,上套法蘭為不銹鋼,墊圈為石棉或氟橡膠 | ||||||
| 代碼 | 下套尺寸 | 最大工作壓力38℃ | 下套材料 | ||||
| A21 | 1″ | 2.5MPa | 316S.ST | ||||
| B21 | 1″ | 2.5MPa | 哈氏合金C-276H | ||||
| E21 | 1″ | 2.5MPa | 碳鋼鍍鋅 | ||||
| A41 | 1-1/2″ | 2.5MPa | 316S.ST | ||||
| B41 | 1-1/2″ | 2.5MPa | 哈氏合金C-276H | ||||
| E41 | 1-1/2″ | 2.5MPa | 碳鋼鍍鋅 | ||||
| A51 | 2″ | 2.5MPa | 316S.ST | ||||
| B51 | 2″ | 2.5MPa | 哈氏合金C-276H | ||||
| E51 | 2″ | 2.5MPa | 碳鋼鍍鋅 | ||||
| A71 | 3″ | 2.5MPa | 316S.ST | ||||
| B71 | 3″ | 2.5MPa | 哈氏合金C-276H | ||||
| E71 | 3″ | 2.5MPa | 碳鋼鍍鋅 | ||||
| A22 | 1″ | 5MPa | 316S.ST | ||||
| B22 | 1″ | 5MPa | 哈氏合金C-276H | ||||
| E22 | 1″ | 5MPa | 碳鋼鍍鋅 | ||||
| A42 | 1-1/2″ | 5MPa | 316S.ST | ||||
| B42 | 1-1/2″ | 5MPa | 哈氏合金C-276H | ||||
| E42 | 1-1/2″ | 5MPa | 碳鋼鍍鋅 | ||||
| A52 | 2″ | 5MPa | 316S.ST | ||||
| B52 | 2″ | 5MPa | 哈氏合金C-276H | ||||
| E52 | 2″ | 5MPa | 碳鋼鍍鋅 | ||||
| A72 | 3″ | 5MPa | 316S.ST | ||||
| B72 | 3″ | 5MPa | 哈氏合金C-276H | ||||
| E72 | 3″ | 5MPa | 碳鋼鍍鋅 | ||||
| 1199RFW —21 J131 A 3 31 請將該型號附加到遠傳變送器型號后面 | |||||||
毛細管訂貨型號規格表
| 1199CAP型 | 材質304,尺寸φ3*1 | |||||
| 代號 | 沖洗備用孔 | |||||
| 15 | 1.5mm | |||||
| 30 | 3.0mm | |||||
| 45 | 4.5mm | |||||
| 60 | 6.0mm | |||||
| 75 | 7.5mm | |||||
| 代號 | 保護套管 | |||||
| 不注 | 鎧裝304 | |||||
| A | PVC護套,鎧裝304 | |||||
| 1199CAP 45 選型舉例 | ||||||
沖灌液特性表
灌充液代號 | 灌充液 | 溫 限 | 比重 | 溫度膨脹系數 | 25℃時粘度(mPa·s) |
D | 普通硅油 | -40~+150℃ | 0.934 | 0.00108 | 9.5 |
S | 高溫硅油 | 15~315℃ | 1.07 | 0.00053 | 44~50 |
F | 惰性填充液(氟油) | -45~+205℃ | 1.85 | 0.000864 | 6.5 |
1151DP/GP帶遠傳裝置的差壓/壓力變送器產品介紹
?。?)1151DP/GD-1151GP變送器帶上遠傳密封裝置后,就成為1151DP/GP遠傳差壓/壓力變送器
1151DP/GP遠傳差壓/壓力變送器,它可避免被測介質直接和變送器的隔離膜片接觸的可靠測量方法,它適用于下述幾種情況:
?、俦粶y介質對變送器敏感元件有腐蝕作用
②需要將高溫被測介質與變送器隔離
?、郾粶y介質中有固體懸浮物或高粘度介質
?、鼙粶y介質由引壓管引同時易固化或結晶
?、莞鼡Q被測介質需嚴格凈化測量頭
⑥測量頭必須保持衛生,嚴禁污染。
?、呤褂脤ο螅焊g性或粘性的液體
?、嘧⒁猓赫婵請龊喜灰瞬捎眠h傳變送器
1151DP/GP型帶遠傳密封裝置的遠傳差壓/壓力變送器,仍然具有1151DP/GP型差壓/壓力變送器的各種特點
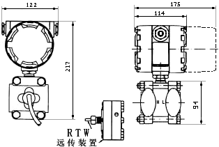
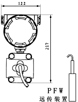
(2)1151DP/GP遠傳差壓/壓力變送器遠傳裝置形式有四種
?、?191PFW扁平式遠傳裝置(標準3″、工作壓力2.5MPa)
②1191RTW型螺紋安裝式遠傳裝置(最大工作壓力10MPa)
?、?191RFW型法蘭安裝式遠傳裝置
?、?191EFW型插入筒式遠傳裝置(標準3″或4″,工作壓力2.5MPa)
1151DP/GP帶上遠傳密封裝置的差壓/壓力變送器外形尺寸圖
![]() | ![]() |





