藍寶石高溫型壓力變送器
- 電 話:021-69028098
- 傳 真:021-69028066
- 郵 箱:shkhyb@163.com
Description
產品簡介
采用進口優質穩定的藍寶石傳感器芯體,產品具有測量范圍寬,測量精度高、性能穩定、抗沖擊、耐磨損和耐腐蝕等特點。尤其是在高溫環境中,具有很強的熱穩定性能.通過裝配不同長度的散熱片可以進一步提高所測介質的溫度,合理科學的配置和先進的電路設計及溫度補償處理,充分保證了變送器可在最高200℃環境長期穩定工作,同時變送器的最大測量范圍達到了200MPa.它是測量高溫介質的理想選擇。適用于對腐蝕性氣體、液體、蒸汽的表壓、絕壓、負壓監測和控制。
應用領域
本產品廣泛應用于水廠、煉油廠、污水處理廠、建材、船舶、醫藥、航空、輕工、機械、電力、環保、科研等工業領域,實現對液體、氣體、蒸氣壓力的測量。
性能參數
量 程 范 圍 | -100…0~35…100(KPa) |
0~1、2、20…60(MPa) | |
過 載 壓 力 | ≤ 200%FS |
測 量 介 質 | 與 316L不銹鋼兼容的氣體、液體 |
輸 出 信 號 | 4~20mA 二線制 |
0~5VDC 三線制 | |
供 電 電 壓 | 12~36VDC (標定值為+24VDC) |
精 確 度 | ±0.3%F.S ±0.5%F.S |
長 期 穩 定 性 | ≤±0.3%F.S/年 |
介 質 溫 度 | -20~+130℃ |
響 應 時 間 | ≤1ms |
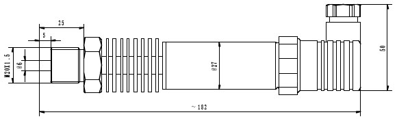
壓 力 接 口 | M20×1.5或用戶自定 |
電 氣 接 口 | 赫斯曼接頭 |
防 護 等 級 | IP65 |
選型表
WP705 | 高溫壓力變送器 | ||||||
G | 表壓 | ||||||
A | 絕壓 | ||||||
0~X (KPa或MPa) | 量程 | ||||||
J3 | ± 0.3%FS | ||||||
J5 | ± 0.5%FS | ||||||
C1 | 4~20mA輸出 | ||||||
C2 | 0~5VDC輸出 | ||||||
C0 | 特殊 | ||||||
M1 | M20×1.5 外螺紋 | ||||||
M0 | 特殊 | ||||||
F1 | 赫斯曼接頭出線 | ||||||
F0 | 特殊 | ||||||
WP705 | G | 20MPa | J5 | C1 | M1 | F1 | |
外形結構

現場安裝
| |





