溫度傳感器熱安裝套管
概述安裝保護套管是套在測溫元件外面或預先安裝與設備之上,抵御被測介質的壓力和腐蝕的溫度傳感器安裝件,它和熱電偶、熱電阻、雙金屬溫度計配套使用。安裝保護套管主要技術參數工作壓力焊 接 型:-0.1—1
- 電 話:021-69028098
- 傳 真:021-69028066
- 郵 箱:shkhyb@163.com
Description
| 概述 | ||
| 安裝保護套管是套在測溫元件外面或預先安裝與設備之上,抵御被測介質的壓力和腐蝕的溫度傳感器安裝件,它和熱電偶、熱電阻、雙金屬溫度計配套使用。 | ||
| 安裝保護套管主要技術參數 | ||
| 工作壓力焊 接 型:-0.1—10MPa整體鉆孔型:-0.1—30MPa隨所選材料種類和使用溫度不同,應該將公稱壓力合理地降額后作為使用的工作壓力。水壓試驗試驗壓力等級為保護管耐壓等級的1.5倍介質流速不超過80m/s | ||
| 溫度傳感器保護套管選型表 | ||
| TH□□□-□/□-□□-□/□ | ||
| 代號 | 溫度傳感器保護套管 | |
| TH | 安裝套管THERMOWELL | |
| 代號 | 外形結構 請參看后面的各型號結構示意圖選型 | |
| 01 | 鋼管式保護管 | |
| 02 | 整體鉆孔直型管 | |
| 03 | 錐形管 | |
| 04 | 整體鉆孔錐形管 | |
| 05 | 螺紋后移整體鉆孔錐形管 | |
| 06 | 帶涂層耐腐蝕耐高溫整體鉆孔管(適用側爐套管) | |
| 07 | 縮徑式直型管 | |
| 08 | 縮徑式整體鉆孔直型管 | |
| 09 | 螺紋后移整體鉆孔直型管 | |
| 代號 | 過程連接 | 說 明 |
| A | 固定螺紋 | |
| B | 固定法蘭 | 法蘭標準和規格由用戶提供 |
| C | 焊接式 | |
| D | 光桿式 | |
| 代號 | 附加要求 | |
| A | 套管內孔為變徑結構 | |
| B | 套管使用于高壓環境 | |
| C | 套管外噴涂搪瓷 | |
| D | 石化廠煉油提升管抗沖刷專用套管 | |
| E | 法蘭式壓接安裝 | |
| F | 套管外整體燒結聚四氟乙烯層和抗沖刷耐磨層,達到耐腐蝕耐磨 | |
| M | 上下套管整體式 | |
| J | 套管外部噴涂金屬陶瓷 | |
| T | 特殊要求,協議供貨 | |
| 代號 | 套管外徑 mm | 說 明 |
| *** | D | 錐形結構時時:D1/D2 (請參看各型號圖紙) |
| 代號 | 套管內孔直徑 mm | 說 明 |
| *** | d | 套管內孔變徑時:d1/d2(請參看各型號圖紙) |
| 代號 | 保護管材料 | 說 明 |
| 0 | 1Cr18Ni9Ti(304SS)(0Cr18Ni10Ti) | |
| 3 | 316L | |
| 4 | 904L | |
| 5 | 3YC52 | |
| 6 | GH3030 | |
| 8 | SiC | |
| 9 | 協議供貨 協議供貨的材質有:GH3039、Inconel600、MONEL合金、GH44、Cr50Ni50合金、STA、 | |
| 哈氏合金、鉭、鈦、鎳、鉬、碳素鋼、合金鋼、二硅化鉬、剛玉管、高鋁管、碳化硅、鉬化鎂 | ||
| 代號 | 連接過程 | 說 明 |
| M1/G3 | M20×1.5 / G1/2 | |
| M2/G3 | M27×2 / G3/4 | |
| M3/G3 | M33×2 / G1" | |
| T | 按用戶要求生產 | |
| 代號 | 套管總長 mm | 說 明 |
| *** | L | 請參看各型號結構圖 |
| 代號 | 插入長度 mm | 說 明 |
| *** | l | 請參看各型號結構圖 |
溫度傳感器熱安裝凸臺
| 熱安裝套管THERMOWELL型號舉例(附結構圖) | |
| 鋼管式固定螺紋直型管 | 鋼管固定螺紋上下護管整體式直型管 |
| 型號:TH01A | 型號:TH01AM |
|
|
| 整體鉆孔固定螺紋直型管 | 固定螺紋錐形管 |
| 型號:TH02A | 型號:TH03A |
|
|
| 整體鉆孔固定螺紋錐形管 | 螺紋后移整體鉆孔固定螺紋錐形管 |
| 型號:TH04A | 型號:TH05A |
|
|
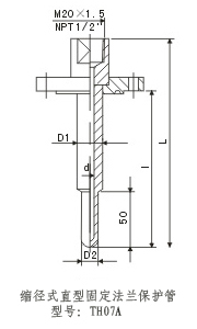
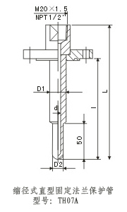
| 裂解爐出口專用套管 | 縮徑式固定螺紋直型管 |
| 型號:TH06A | 型號:TH07A |
|
|
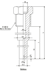
| 外縮徑式內孔變徑整體鉆孔固定螺紋直型管 | 螺紋后移整體鉆孔固定螺紋直型管 |
| 型號:TH08AA-D1/D2/d1/d2 | 型號:TH09A |
![]() | ![]() |
| 鋼管光桿式直型管 | 鋼管光桿式直型管 |
| 型號:TH01D | TH01DF | 型號:TH01DJ |
|
|
| 鋼管固定法蘭直型管 | 保護管噴涂金屬陶瓷鋼管固定法蘭直型管 |
| 型號:TH01B | 型號:TH01BC | TH01BJ |
|
|
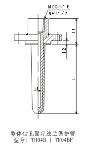
| 鋼管固定法蘭上下護管整體式直型管 | 整體鉆孔固定法蘭直型管 |
| 型號:TH01BM|TH01BF | 型號:TH02B |
![]() | ![]() |
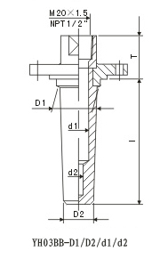
| 高壓(內孔變徑)固定法蘭錐形管 | 固定法蘭錐形管 |
| 型號:TH03BB-D1/D2/d1/d2 | 型號:TH03B-D1/D2/d |
|
|
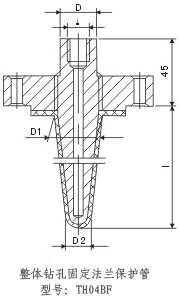
| 整體鉆孔固定法蘭錐形管 | 高壓整體鉆孔固定法蘭錐形管 |
| 型號:TH04B | TH04BF | 型號:TH04BB |
|
|
| 特殊要求整體鉆孔固定法蘭錐形管 | 防腐固定法蘭錐形管 |
| 型號:TH04BT | 型號:TH04BF |
|
|
| 法蘭式壓接安裝固定法蘭錐形管 | 石化廠煉油提升管抗沖刷專用套管 |
| 型號:TH04BE | 型號:TH04BD |
|
|
| 縮徑式整體鉆孔固定法蘭直型管 | 縮徑式固定法蘭直型管 |
| 型號:TH08B | 型號:TH07B-D1/D2/d |
|
|
瀏覽:
上一篇:溫度傳感器安裝凸臺
下一篇:無





























